近日、明陽科技(蘇州)股份有限公司(以下、明陽科技という)の社長一行は弊所にご来訪いただいた。弊所弁理士が同社の無効宣告請...
4月26日、21回目の世界知的所有権の日にあたって、国家知識産権局の「一般公開日」イベントにおいて、商標局の崔守東局長が10件の「...
中国特許出願の実施可能要件違反及び 出願書類の作成時における留意点


北京林達劉知識産権代理事務所
副所長 弁理士 張 会華
 
中国特許法第26条第3項には、「明細書には、発明又は実用新案について、当業者が実施することができる程度に、明瞭かつ完全な説明を記載しなければならない。」と規定されている。特許法実施細則第64条第2項には、特許権を付与された発明又は実用新案が特許法第26条第3項の規定に合致していない場合、無効理由になると規定されている。なぜなら、中国特許制度の主要な特徴のうちの一つ、すなわち「特許権者が国家より付与された所定の期間内のその発明創造に対する独占排他権を取得した場合、特許権者と公衆との間の利益のバランスをとるために、社会公衆にその発明内容を十分に公開し、社会公衆にその発明創造を理解する技術情報を提供する必要がある」という特徴に違反しているからである。したがって、発明又は実用新案に実施可能要件違反がある場合、中国特許庁の実体審査(発明特許のみ)を通過せず拒絶査定されるので、特許権を取得することができず、また、登録された特許権に対して他人が特許法第26条第3項の規定に合致していないことを理由として中国特許審判委員会に無効審判を請求することにより、当該特許権が無効となるリスクがある。したがって、実施可能要件違反は、中国特許出願及び中国特許にとって、実質的な不備である。

本文では、「法律規定の紹介」、「出願書類の作成時における留意点」、「実施可能要件違反に対する反論」、「実例分析」という四つの部分に分けて説明する。「法律規定の紹介」の部分では、実施可能要件違反についての特許法及び審査基準における規定及び中国特許庁の実施可能要件違反についての審査操作規程をまとめた。「出願書類の作成時における留意点」の部分では、明細書の作成時に実施可能要件違反にならないために留意すべき点を記載している。「実施可能要件違反に対する反論」の部分では、出願審査プロセス及び無効審判手続中に実施可能要件違反が指摘された際の応答対策を記載している。「実例分析」の部分では、林達劉事務所が取り扱った実施可能要件違反に関する無効審判実例を紹介している。

【法律規定の紹介】

1.中国特許法第26条第3項:「明細書には、発明又は実用新案について、当業者が実施することができる程度に、明瞭かつ完全な説明を記載しなければならない。」

2.審査基準第2部分第2章第2.1節:「明細書には、発明又は実用新案について、当業者が実施することができる程度に、明瞭かつ完全な説明を記載しなければならない。すなわち、明細書は発明又は実用新案を十分に開示する要件を満たすべきである。」

明細書の明瞭性要件:明細書の主題は明瞭でなければならず、表現は正確でなければならない。

明細書の完全性要件:明細書には発明又は実用新案を理解及び実現するためのすべての技術内容が含まれていなければならない。

実施可能要件:当業者は明細書に記載された内容に基づいて、当該発明又は実用新案を実現し、その課題を解決し、かつ所望の効果を奏することができる。

以下の各状況は課題を解決する技術手段を欠いているので、実現することができないとみなされる。

(1)明細書に目的及び/又は仮想しか記載されておらず、又は要望及び/又は結果のみが記載されており、当業者が実現できる解決手段が全く記載されていない。以下に例を挙げて説明する。ある発明はオートマチック自転車を提供しており、当該自転車はオートマチック機構を搭載することにより、坂を上る時に駆動輪と受動輪との間の伝動比を自動的に低伝動比に変更し、当該自転車を運転する者は運転中手動の切換操作を行う手間をなくすことができる。しかし、出願書類には当該オートマチック機構の具体的な構造に関する記載がないので、当該出願は目的及び/又は仮想しか提供しておらず、当業者が当該目的及び/又は仮想を実現する手段が全く提供されていない。したがって、実施可能要件違反に該当する。

(2)明細書に技術手段が記載されているが、当業者にとって、当該技術手段は不明瞭であり、当業者は、明細書に記載された内容に基づいて、具体的に実施することができない。以下に例を挙げて説明する。発明のポイントとして、W=E*Mが記載されているが、明細書に式中の「W」、「E」、「M」に関する定義が記載されておらず、明細書の他の部分からもその定義を導き出すことができない。当該式は発明に不可欠な構成であるので、当業者は当該発明を理解及び実施することができない。この場合、発明の内容を欠いているので、完全な発明を構成することができない。

したがって、実施可能要件違反に該当する。また、発明の各構成部分に矛盾がある場合も実施可能要件違反に該当する。

(3)明細書に技術手段が記載されているが、当業者はこの技術手段を採用しても発明又は実用新案が解決しようとする課題を解決することができない。例えば、出願人は発明又は実用新案が解決しようとする課題を解決する技術キーポイントを故意に隠し、その技術のコツを隠し、明細書に記載していないので、当業者は明細書に記載された技術手段に基づいて実施しても、本発明が解決しようとする課題を解決することができない。したがって、実施可能要件違反に該当する。

(4)出願の主題は複数の発明からなり、そのうちの1つの発明が、当業者が明細書に記載された内容に基づいて実現できない。

(5)明細書に具体的な発明が記載されているが、当該発明は実験結果により実証されないと成立しないものであるにもかかわらず、実験データが記載されていない。例えば、既知化合物の新規な用途発明の場合、通常、明細書にその用途及び効果を実証できる実験データを記載する必要がある。さもなければ、実現可能要件を満たさない。

3.実施可能要件違反についての中国特許庁の審査操作規程におけるいくつかの要点:

(1)明細書に十分に開示されていないが、特許請求の範囲においてクレームしていない発明に対しては拒絶理由を出さない。すなわち、ある出願の明細書にはA、B、C、Dの4つの発明を含んでいるが、そのうち、B発明に実施可能要件違反の不備があるが、当該発明が特許請求の範囲においてクレームされていない場合、特許庁はB発明に対して実施可能要件違反の拒絶理由を出さない。

(2)実施可能要件違反の不備は、実施例及び/又は構成を追加することにより解消することができない。このような補正は、特許法第33条に規定する要件を満たさないからである。

(3)出願人が提出した実施可能要件違反ではないことを証明するための実験データ、追加した実施例、非出版物証拠、出願日又はそれ以後に開示された出版物を考慮しない。当該条項は、拒絶理由に対する応答時に提出された実施可能要件違反ではないことを証明するための実験データ、追加した実施例、非出版物証拠、出願日又はそれ以後に開示された出版物について、特許庁はこれを考慮しないことを指している。

(4)正規の出版物に記載された従来の技術を考慮すべきである。正規の出版物には通常、特許文献、国際標準図書番号(ISBN)、国際標準逐次刊行物番号(ISSN)又は中国統一刊号を付した図書類出版物、中国国家、業界又は地方主管部門が発行した標準及び公衆が見ることができるオンラインデータベースにより定期的に出版公開されたオンライン電子定期刊行物などが含まれる。

(5)出願人が意見書で、当業者が技術的常識に基づいてある技術手段を容易に特定でき、本発明を実現することができると主張し、また、審査官が出願人の主張した理由を正当であると判断する場合、その主張を認めるべきである。出願人は意見書を提出するとともに引用した技術的常識の証拠を提出すべきである。

(6)一つ又は複数の証拠の内容が矛盾しており、発明の内容が不明確となる場合、実施可能要件違反の問題は解消されない。以下に例を挙げて説明する。【想定事例】発明は、元素Aと、15重量%の元素Bと、20重量%の元素Cと、残部元素Dとを含む合金に関し、そのうち、元素Aが、本発明の課題解決を図るためのものである。しかしながら、明細書には元素Aの含有量が記載されていないので、実施可能要件違反とされた。出願人は、拒絶理由応答時に、元素Aの含有量は従来技術であることを証明するために「当該材料において、元素Aの含有量は5重量%以上でなければならない」と記載された出版物を提出した。ところが、審査官は、「当該材料において、元素Aの含有量は3重量%以下でなければならない」と記載された技術マニュアルを見つけた。【結論】上記2つの証拠は矛盾しているので、いずれも証拠として認められない。

(7)一つ又は複数の証拠から、ある構成要件が複数の意味を有する場合、上記複数の意味のいずれで理解しても発明を実現することができるわけではないので、実施可能要件違反の問題は解消されない。

(8)出願人が、ある技術的手段が従来技術に該当することを証明できる証拠を提出したものの、当該技術的手段が明細書の記載と容易に組み合わせることができない場合、実施可能要件違反の問題は解消されない。

(9)明細書には引例の明確な情報が記載されていないので、引例が入手できないか、又は、引例は確かに存在するが、引例に実際に記載されている内容が本発明と関係していないか、若しくは、引用された内容と一致していない場合、明細書に当該引例が記載されていないとみなす。【例1】特許出願明細書には「本発明の伝動機構は、文献1に記載の伝動機構を用いる。」としか記載されておらず、上記伝動機構の具体的な説明は一切なく、かつ、文献1の出願番号や公開番号も記載されていないので、審査官は当該文献を入手することができない。この場合、明細書に特許文献1は記載されていないとみなされ、実施可能要件違反となる。【例2】明細書には、引用文献の出願番号又は公開番号が記載されているが、出願人の不手際で出願番号又は公開番号が誤っている場合、明細書に記載の出願番号又は公開番号に基づく文献は、本願の技術と全く関係していないとして、明細書に当該特許文献は記載されていないとみなされ、実施可能要件違反となる。

(10)明細書に引用されている文献が、非特許文献又は外国の特許文献であり、かつその公開日が本願の出願日(出願日を含む)より遅い場合、明細書に当該引例は引用されていないとみなす。

(11)明細書に引用されている文献が、中国の特許文献であり、かつその公開日が本願の公開日より遅いか、又は、未公開である場合、明細書に当該引例は引用されていないとみなす。

(12)明細書において、本願発明に係る物品又は物質を商標又は商品名のみにより表す場合、本願の出願日以前から既知の確実な技術的意味を有する商標又は商品名を記載しなければならない。さもなければ、当業者は、物品又は物質を確認できず、本願発明を実施することができなくなる。商標又は商品名が以下の意味を表す場合、このような記載は許容される。

1つの実際の物品又は物質を表す;

1つの確実な意味を有する物品又は物質を表す;

一連の公知物品又は公知物質を表す(一連の物品又は物質は、発明において、同一の役割を果たすものである)。
 
【出願書類の作成時における留意点】

(1)新規な化合物又は組成物に基づく製品発明、新規な物質・新規な性質の発見に基づく用途発明、従来の認識を覆したか又は技術的偏見を克服した発明の場合、明細書に具体的な発明を記載するほかに、当該発明が成り立つことを証明する実験データを記載しなければならない。

(2)明細書に技術的効果を的確に記載すべきである。技術的効果を大げさに記載すると、明細書に記載された発明と当該効果とが対応しない(当該発明を実施しても当該効果を得られない)こととなり、実施可能要件違反となってしまう。

(3)明細書に記載する課題、技術的効果及び発明は互いに対応するものでなければならず、矛盾し合うか、又は互いに関係がないものであってはならない。

(4)明細書には、できる限り通用する技術用語を記載すべきであり、会社内でのみ通じる用語は避けるべきである。従来にない新しい技術に関する用語の場合、当業者が当該新規技術用語の意味を把握できる程度に、当該用語の意味について明細書に詳しく説明しなければならない。

(5)特許に係る材料の成分含有量を明記しなければならない。

(6)一般式中のパラメータを明確に定義しなければならない。単位のあるパラメータの場合、その単位を明確に記載しなければならない。

(7)先行技術を引用する場合、発明の内容を説明するための当該引例の出所を【背景技術】部分に正確かつ明瞭に記載しなければならない。引例が特許文献である場合、当該特許の国名、公開番号を明記しなければならず、引例が特許文献でない場合、文書のタイトル及び詳細な出所を明記しなければならない。

(8)引用する文献が本願の出願日又は出願日以降に公開された非特許文献又は外国の特許文献である場合、当該文献の本発明と関係する内容を【背景技術】部分に記載しなければならない。

(9)引用する文献が中国の特許文献であり、当該文献が本願より遅く公開される可能性がある(例えば、本願は実用新案出願Aであり、引用する文献は出願日が実用新案出願Aより少し早い発明特許出願Bである。発明特許出願の公開は出願日から18ヶ月後であるのに対して、実用新案は12ヶ月以内に登録される可能性がある。したがって、引用される発明特許出願Bの公開日は本実用新案出願Aの公開日より遅くなる。)場合、当該文献の本発明と関係する内容を【背景技術】部分に記載しなければならない。
 
【実施可能要件違反に対する反論】

(1)明細書の実施可能要件違反を理由として拒絶理由通知書を出された場合、まず最初に、実施可能要件違反と指摘された理由が適切であるか否か、審査官は技術に対する理解がずれているために誤った判断を下した可能性がないか、などについて検討すべきである。理由が適切ではないと判断した場合には、拒絶理由通知に対する応答時に、審査官を説得できるよう、本願発明の内容は明細書に十分開示されていることを証明できる理由を説明すべきである。

(2)「本願の開示すべき内容は、本願の出願日以前に公開されていない非特許文献又は外国の特許文献である引例の内容に属する」という理由により実施可能要件違反と指摘された場合、出願人は、審査官の見解を変えるよう、「本願明細書の各部分の記載を有機的に組み合わせることにより、当該非特許文献又は外国の特許文献に記載されている内容を知ることなく、本願明細書に開示されている内容に基づいて本願発明を実施することができる」ことを証明すべきである。

(3)明細書に不明確な表現があるために実施可能要件違反と指摘された場合、「当該不明確な表現は、実施可能要件違反ではなく、中国特許法実施細則第18条の『規範的な用語を使用し、語句を明確にする』の規定に違反したものに該当し、明細書の前後の文に基づいて当該表現の正確な意味を読み取ることができる」と反論すべきである。それとともに、応答書を提出する際に不明確な箇所を明確に補正すべきであり、かつこの補正は出願当初の明細書及び特許請求の範囲に記載された事項の範囲を超えていないことを説明すべきである。
 
【実例分析】

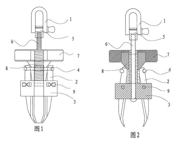
ここで、弊所が取り扱った無効審判の実例を紹介する。本件において、無効審判請求人の代理人として、弊所は第200520005331.0号の実用新案に対して、明細書及び請求項1~5の関連内容は、当業者が請求項1~5に係る実用新案を実施できるほど明確に記載されていないので、実施可能要件に違反していることを理由として、中国特許審判委員会に無効審判を請求した。無効審判請求書に対して、実用新案権者は実用新案請求の範囲を補正し、旧請求項1~5を新請求項1~3に変更した。口頭審理において、弊所は無効審判請求人の指示に基づき、明細書と新たな請求項1~3の関連内容は依然として不明確であるので、当業者は新請求項1~3に係る実用新案を実施することができないと主張した。結局、中国特許審判委員会は第10697号無効審判請求審決を下し、明細書における新請求項1~3に関する実用新案の特定事項は不明確であり、当業者は明細書の記載のみに基づいて新請求項1~3に係る実用新案を実施できないので、特許法第26条第3項に規定する要件を満たしていないと認定し、即ち、弊所の主張が認められた。

以下に本件の詳細について説明する。

● 本件に係る実用新案の新請求項1~3

1.ボタンクランプホルダ(1)と、少なくとも2つのジョー(2)と、ジョー固定ホルダ(3)とを備え、前記ジョー(2)は径方向に拡張又は収縮可能に前記ジョー固定ホルダ(3)に固定され、前記ジョー固定ホルダ(3)は、固着部材(5、6)により、前記ボタンクランプホルダ(1)に固着され、前記固着部材は一つの固定ネジ(5)と一つのナット(6)を備えており、前記ジョー固定ホルダ(3)が前記固定ネジ(5)の一端に設けられ、この固定ネジ(5)の他端がナット(6)を介して前記ボタンクランプホルダ(1)に固定され、前記ジョーホルダ(3)に上下に移動するように調整するための調整装置が設けられ、前記調整装置は、上下調整取っ手(7)と快速上下移動ネジ(8)とを備え、前記快速上下移動ネジ(8)が、前記固定ネジ(5)の外側に外嵌され、かつその一端が前記ジョー固定ホルダ(3)に固着され、他端が上下調整取っ手(7)に螺合され、この上下調整取っ手は、前記ジョーの部品を抓む端部から、ある距離を離間している、ことを特徴とする既製服の部品を測定するためのボタンクランプ。

2.前記上下調整取っ手(7)のネジピッチは快速上下移動ネジ(8)より細いことを特徴とする請求項1に記載の既製服の部品を測定するためのボタンクランプ。

3.前記ジョー(2)は3つがあり、この3つのジョー(2)が、ゴムリング(4)と位置決めピン(9)により前記ジョー固定ホルダ(3)の内部に固定されていることを特徴とする請求項1に記載の既製服の部品を測定するためのボタンクランプ。

● 上述の請求項1~3に対応する本件実用新案の明細書の記載

図1のように、本件実用新案に係るボタンクランプは、一定の力を加えるボタンクランプホルダ1と、開口部が薄くかつ硬い材質で作られ、物を抓み易い3つのジョー2とジョー固定ホルダ3とを備え、3つのジョー2はゴムリング4と位置決めピン9によりジョー固定ホルダ3に接続され、ジョー固定ホルダ3は固定ネジ6とナット5によりボタンクランプホルダ1に固着され、ジョー固定ホルダ3に上下に移動するように調整するための調整装置が設けられ、前記調整装置は、上下調整取っ手7と快速上下移動ネジ8とを備え、前記快速上下移動ネジ8が、前記固定ネジ6の外側に外嵌され、その一端がジョー固定ホルダ3に固着され、他端が上下調整取っ手7に螺合され、そして、上下調整取っ手7のネジピッチを快速上下移動ネジ8より細くして、上下調整取っ手7をやや回転させるだけで、長い距離を移動するように快速上下移動ネジ8を駆動することができる。本実施例では、図2のように、快速上下移動ネジ8の外形が楔形となっているので、3つのジョー2の頂部をゴムリング4を介して快速上下移動ネジ8の外側に位置させるとき、上下移動ネジ8の外側の楔形構造及び上下移動により開閉動作を行うことができ、また開閉動作の範囲はジョー固定ホルダ3により制限されている。

●特許審判委員会の無効審決における、特許法第26条第3項に関する本件実用新案の請求項1~3の無効理由

①本件実用新案の明細書には、固定ネジ6の構造について記載されておらず、快速上下移動ネジ8の構造について、その外形が「楔形となっている」ということのみが記載されている。しかし、本件実用新案の図1、2は、楔形構造と図面記号6で示されているネジピッチが細いネジとの間に、一切れのネジピッチが太いネジが外嵌されていることを示している。したがって、当該ネジピッチが太いネジが単独の部材なのか、それとも固定ネジ6又は楔形構造を有する快速上下移動ネジ8の一部なのかは、当業者にとって不明確である。すなわち、固定ネジ6が図面に示されたネジピッチが細い構造なのか、それとも細いネジピッチと太いネジピッチからなる複合構造なのか、あるいは、快速上下移動ネジ8が図面に示された太いネジピッチと楔形構造からなる複合構造なのか、それとも楔形の単独の構造なのかは不明確である。また、本件実用新案の明細書には、快速上下移動ネジ8の具体的な構造が記載され(明細書第3頁第19~20行目を参照)、しかも、「前記快速上下移動ネジ8が、固定ネジ6の外側に外嵌され、かつその一端がジョー固定ホルダ3に固着され、他端が上下調整取っ手7に螺合され」という内容も記載されているが、この記載から、当業者は依然として快速上下移動ネジ8の具体的な構造を一義的に読み取ることができない。明細書に記載の「快速上下移動ネジ8の一端がジョー固定ホルダ3に固着され、他端が上下調整取っ手7に螺合されている」という内容を見れば、図1、2に示されたネジピッチが太いネジは快速上下移動ネジ8の一部に属するはずである。なぜなら、この場合に限って、当該ネジ8の両端がそれぞれジョー固定ホルダ3と上下調整取っ手7に接続することができるからである。しかし、これが成立するのであれば、快速上下移動ネジ8がジョー固定ホルダ3に「固着」されているので、当該ネジ8はジョーホルダ3に対して上下に移動することができない。これは明細書に記載の「快速上下移動ネジ8は、ジョー4を径方向に拡張又は収縮可能に駆動できる」という記載と矛盾している。以上の理由により、本実用新案の明細書において、快速上下移動ネジ8と固定ボルトの具体的な構造に関する記載が不明確である。

② 本考案のボタンクランプは、固定ネジ6と上下調整取っ手7と快速上下移動ネジ8との相互移動によりジョーを径方向に拡張と収縮させ、正常に動作することができる。しかし、これら部材との相互移動関係は本考案の明細書に明確に記載されていない。具体的には、本考案には、図2に示す細いネジ付きボルトと粗いネジ付きボルトとウエッジ構造と上下調整取っ手7との相互移動関係は明確に限定されていない。すなわち、使用時にどの部材を駆動すべきか、その部材がどのように他の部材を動作させるのかは明確に記載されていない。それゆえ、その操作は特定できない要素が多くある。例えば、細いネジ付きボルトが固定される場合、粗いネジ付きボルト、ウエッジ構造及び上下調整取っ手7の移動方向が一致するのか、部分的に異なるのか、それともまったく異なるのか、異なる場合この3つの部材がどのように相互移動するのかは不明確である。したがって、本考案における、固定ネジ6と上下調整取っ手7と快速上下移動ネジ8との相互移動についての記載が不明確であるので、当業者は明細書に記載された内容からこのボタンクランプの使用方法及び原理を一義的に読み取ることができず、上述の部材がどのようにボタンクランプの正常な動作を実現するのかも導き出すことができない。また、口頭審理においても、特許権者はこの点について明確かつ実施可能な説明を行わなかった。

口頭審理において、「その一端」の「その」とは固定ネジ6を指しており、「他端」とは快速上下移動ネジの一端を指しているという特許権者の主張について、合議体は、「本考案の明細書第3頁第19~20行目には「この快速上下移動ネジ8が固定ボタン6の外側に配置され、その一端がジョー固定ホルダ3に固着され、他端が上下調整取っ手7のネジに螺合されている」と記載されている。それゆえ、慣用文法習慣によると、「その一端…、他端…」は連結詞により連結する簡単なコーディネートクローズである。このコーディネートクローズは「その」が指している物の一端及び他端に関するはずである。したがって、特許権者の主張は慣用文法習慣に合致しておらず、認められない。」と認定した。「上下調整取っ手7のネジが快速上下移動ネジ8より細い」という記載は入力ミスであるという特許権者の主張について、合議体は、「この分野の技術常識によると、螺合の部材のネジピッチは同一のはずである。しかし、本考案の明細書第3頁第20~22行目における「上下調整取っ手7のネジを快速上下移動ネジ8より細くして、上下調整取っ手7をやや回転させるだけで、長い距離を移動するように快速上下移動ネジ8を駆動することができる」という記載は明らかに常識に合致していない。明細書にはこの点についての他の記載がないので、当業者は本考案の当初の登録書面から快速上下移動ネジ8の唯一な正確な移動方式を直接的にかつ一義的に特定することができない。特許権者はそれが入力ミスであると主張しても、客観的にみて本考案の明細書は不明確であり、当業者は本考案における上述の内容に関する発明を実施することができないので、この主張も認められない。」と認定した。本考案の固定ネジ6が粗いネジ付きボルトと細いネジ付きボルトを含むという特許権者の主張について、合議体は、その前に固定ネジ6の構造を唯一に特定できない理由を評価した。また、本考案の明細書には、粗いネジ付きボルトと細いネジ付きボルトとが固定連結されると記載されていない。また、本考案の明細書の図面によると、粗いネジ付きボルトは細いネジ付きボルトと螺合する。この分野の技術常識によれば、螺合の部材とは固定的ではなく、相対的に移動することができる。このように、本考案の明細書から、固定ネジ6が粗いネジ付きボルトと細いネジ付きボルトを固定連結することにより構成されるということを導き出すことができない。したがって、この主張も合議体に認められていない。上述の理由により、合議体は、「特許権者の主張は成立せず、本考案の明細書に係るボタンクランプという発明は不明確であり、特許法第26条第3項に規定する要件を満たしていないので、当業者は本考案の明細書の内容のみに基づいてボタンクランプの発明を実施することができない。」と認定した。

● 弊所の観点

特許審判委員会合議体の意見は正しいと思う。弊所の理解では、本考案の明細書が中国特許法第26条第3項の規定に合致していないと指摘された原因は、特許弁理士が本考案の技術を十分理解しないまま出願書類を作成したことにより、明細書の技術内容が矛盾しており、一部の部材の構造が明確に記載されていないので、明細書に記載された内容から当該部材の構造を特定できず、各部材との相互配合関係及び相互連接関係が不明確になったからである。また、本考案の明細書にはさらに次のような不備がある。(1)ボタンクランプの動作原理が詳しく記載されていない。本考案の明細書には、ボタンクランプの動作原理について、「3つのジョー2の上部をゴムリング4を介して快速上下移動ネジ8の外側に定位させるとき、快速上下移動ネジ8の外側のウエッジ構造及び上下移動により開閉でき、かつ開閉の動作範囲がジョー固定ホルダ3により限定される」としか記載されておらず、ボタンクランプを用いてボタンの堅固度を測定するときにこのボタンクランプをどのように操作するのか、及びこの操作過程において各部材との相互作用関係及び相互移動関係は記載されていない。このように、ボタンクランプの構造に関する記載が不明確である場合、当業者は本考案の発明がまったく分からない。明細書にこのボタンクランプの動作原理、動作中の各部材との相互作用関係及び相互移動関係が詳しく記載されていれば、このボタンクランプの動作原理、動作中の各部材との相互作用関係及び相互移動関係に基づいて不明確な箇所を説明することにより反論することができる。その場合、この反論は審査官に指摘される可能性がある。(2)図面の記載が不明確である。図1はジョークランプ4の閉鎖状態を表している。図1において、上下調整取っ手7の上面と快速上下移動ネジ8の上端面との高さは同じである。図2はジョークランプ4の開放状態を表している。図2において、上下調整取っ手7の上面と快速上下移動ネジ8の上端面との高さは依然として同じである。このように、図面からもボタンクランプの動作原理、動作中の各部材との相互作用関係及び相互移動関係を読み取ることができない。したがって、図面は明細書の記載を説明するという役割を奏していない。

● 本件による示唆

機械特許の明細書を作成するとき、明細書に、特許を請求する発明に係る装置の各部材の形状特徴、位置特徴、各部材との相互配合関係及び相互連接関係を詳しく記載するほか、当該装置の動作原理、動作中の各部材との相互作用関係及び相互移動関係も詳しく記載すべきである。また、図面を明細書に記載された内容に対応するようにし、装置の各部材の形状特徴、位置特徴、各部材との相互配合関係及び相互連接関係を明確に表すようにすべきである。発明の解決しようとする課題をどのように解決するのか、どのように効果を奏し得るのかも記載すべきである。明細書の各部分の内容において、同一の特徴に対する記載は矛盾してはならない。関連性を有する記載はつながりが切れてはならない。


 
(2009)

ホットリンク:北京魏啓学法律事務所
©2008-2025 By Linda Liu & Partners, All Rights Reserved.
ホットリンク:北京魏啓学法律事務所
©2008-2025 By Linda Liu & Partners, All Rights Reserved.